公开区
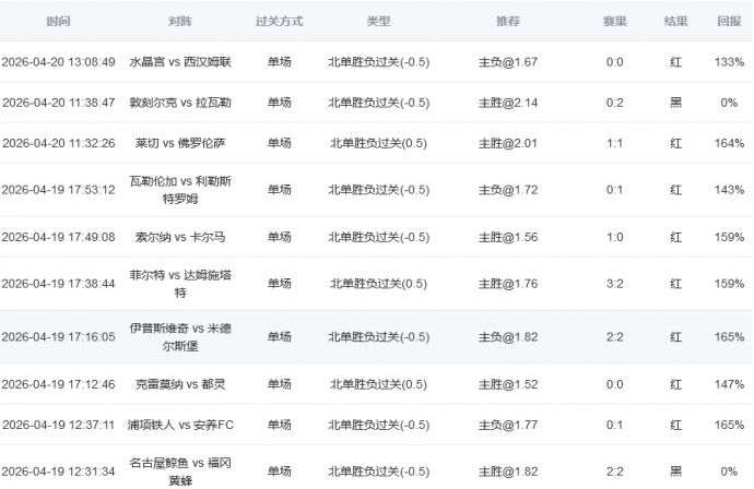
如你所见:当前战绩页面场呈现的是,10个单场命中8个单场(从001开始干拔,命中率80%,完成7场连红),每天你会看到一张实时更新的战绩截图(全部为竞足场次,以单场标推呈现),它不是1场2场或3场,而是整整的10场(最近),它代表一种持续的表现力和预期张力,这是我们的的赛道。
关于分享:比赛多的时候,我们会多分享点,2场3场或5场,甚至更多,都没问题;比赛少的时候,我们或有且分享1场,2场,甚至不分享,月有阴晴圆缺,我们将视实时“天气预况”而定。
感谢关注!昨天有5场比赛,我们只打了前面3场,因为周一稍有留力,最终昨天的4场联赛全部开出下P,我们命中第1场意甲,命中第3场英超,精确为大家锁定方向,第2场法乙太丝滑,有且推的一场让步都没给。

OK,我们又从今天的001开始发车,不管千山万水,豪哥和大家一起“趟”,不管有没有路,我们一起撸起胳膊“闯”。今天18点30分的两场韩职打头阵,我们是否能够先行,突围而出呢?
K1联赛 2026-04-21 18:30 全北现代 vs 仁川联
赛事分析:26K1联赛第9轮,全北现代近10场战绩4胜4平2负进12球失9球,仁川联近10场战绩3胜2平5负进14球失16球。。。指数方面,机构给出全北现代主场半球的让步,实时给出半球的让步,综合莱看,我们看到指数结构呈现一种基于0.50+0.98这个位置,降贴下沉到0.90,再升贴值0.98,再下沉的"W型“曲线走势,这种走势它代表降赔的趋向,但矛盾不彻底。我们莱看当前双方的表现,全部和仁川均全部连续2轮不胜,甚至在最近的4场表现,都出奇的一致,当我们拿到这种基本面,搭配0.50的指数结构,其实是非常难果断的下判断的,因为这个指数结构的大小呈现没有落差。所以我们只能去回顾经验的储备库,去寻找更可能的答案,有的时候,在这种基本面的对比下,强队的一方,甚至给到0.25+0.98这个位置,都还有机会开出来,如今的0.50,且搭配有限的降赔趋势,全北还是有机会的。尤其这场开了单关,我们看到前面很多场单关强队都翻车了,作为CPS来说,曲线的拐点总要呈现的,今天,机构拿2轮不胜的全北给出单关,我们倾向认为,在这种综合背景下,就算前面有坑,我们也有机会跳一跳,跨过去。倾向看好全北主场取胜,指数全北让步。