公开区

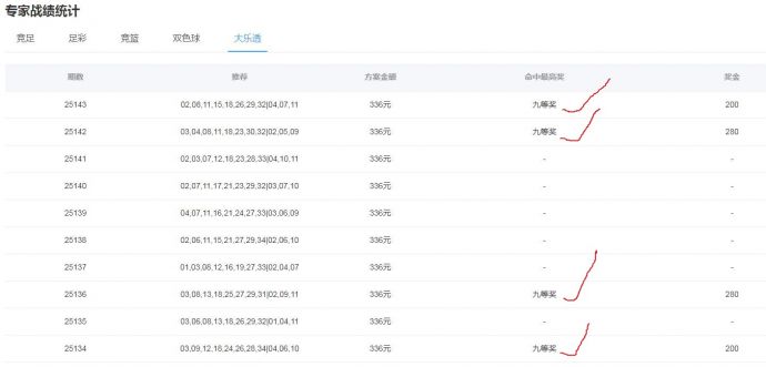
回顾上期大乐透2025143期,前区号码各区间出号呈现冷热间隔的出现的趋势,大乐透出号也遵循自然的规律,只要用心研究,大乐透还是有规律可寻的,通过研究过往几十期的出号规律,找出冷热号的分布规律,运用横向规律、纵向规律、斜线规律、冷热分布常规来确定 建议 号码,反复推理最终搞定大奖,不信命运,用知识改变命运。本期 建议如下:

回顾上期大乐透2025143期,前区号码各区间出号呈现冷热间隔的出现的趋势,大乐透出号也遵循自然的规律,只要用心研究,大乐透还是有规律可寻的,通过研究过往几十期的出号规律,找出冷热号的分布规律,运用横向规律、纵向规律、斜线规律、冷热分布常规来确定 建议 号码,反复推理最终搞定大奖,不信命运,用知识改变命运。本期 建议如下:
1. 仅提供观点参考而非购彩,购彩请往线下彩票店
2. 解锁即代表已阅读并同意《付费资讯阅读协议》